动力全开!阳光电源上半年净利狂飙56%至77亿
发布日期:2025/8/26
阳光电源2025年8月25日晚间发布半年报,上半年营业收入435.33亿元,同比增长40.34%;归属于母公司所有者的净利润77.35亿元,同比增长55.97%;基本每股收益3.73元,同比增长56.07%。第二季度营业收入244.97亿元,同比增长33.09%;归属于母公司所有者的净利润39.08亿元,同比增长36.53%。
近五年财务数据一览:
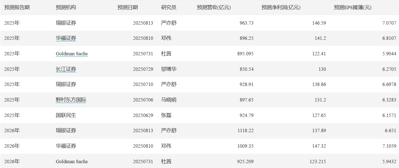
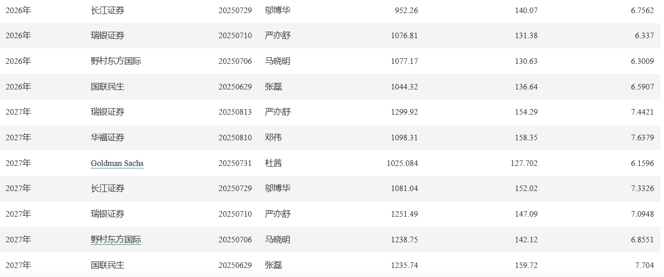
机构业绩预测
近90日内瑞银证券等6家机构对该公司进行研究并给出了业绩预测,详情如下:

投资评级
近90日内瑞银证券等5家机构对该股票进行研究,并给予了投资评级,详情如下:
该股票近5年市净率、TTM市盈率、TTM股价营收比走势如下:
行情及主力资金:
阳光电源8月25日收报102.6元,上涨4.84%,成交金额74.95亿元,换手率4.6671%,当日主力资金净流入9.59亿元,主力净流入额占比0.59%;近20个交易日累计上涨38.27%,主力资金累计净流入2.55亿元。
来源:香港万得通讯社